as潜水排污泵结构特点:
结构紧凑 移动方便 安装简单 排污能力强 无堵塞 可减少工程造价 无需建造泵房 不需专人看管。
as潜水排污泵主要用途:
◆ 工厂、商业严重污染废水的排放
◆ 医院、宾馆的污水排放
◆ 城市污水处理厂排放系统
◆ 市政工程、建筑工地
◆ 住宅区的污水排水系统
◆ 勘探、矿山配套附机
◆ 人防系统排水站
◆ 农村沼气池、农田灌溉
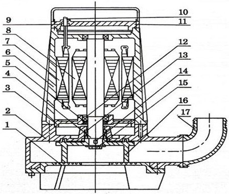
as潜水排污泵结构图:
.bmp)
1底座10电缆
2泵体11上盖
3轴承体12轴承
4轴13机械密封
5唇型密封14平键
6电机壳15叶轮螺母
7定子鉄芯16叶轮
8转子铁芯17弯管
9进线密封
感谢浏览湖南湘潭泵业官网,公司实力雄厚,设备齐全,具有高频淬火、多功能热处理、铸造能力、热处理、
锻造,经过处理后的叶轮、轴、密封环、导叶及核心的平衡装置,使用寿命是普通的产品的6倍以上,专业健
全的工艺使产品使用、维护周期超越用户期望,为用户产生巨大的经济效益。
湖南湘潭泵业花石水泵厂有限公司 版权所有
营销地址:湖南省长沙市雨花区雨花路9号
工厂地址:湖南省湘潭县花石镇中立街
业务专线:15116488660 微信 传真:0731-85552022